數控車床的基本部件
數控機床是現代制造業中生產量更大、運用最普遍的主流設備,是精密CNC數控加工的必備裝備,具備加工效率高、精度高等多種優點。那么你知道CNC數控車床是由哪些部件組成的呢?
首先我們必須明白,CNC車床是一種裝有程序控制系統的自動化機床。這個控制系統可根據指定的指令有效的處理各種程序并將其譯碼,從而使機床正確加工零件。 又稱為數控車床,在中國香港、珠三角一帶還被稱為電腦鑼。
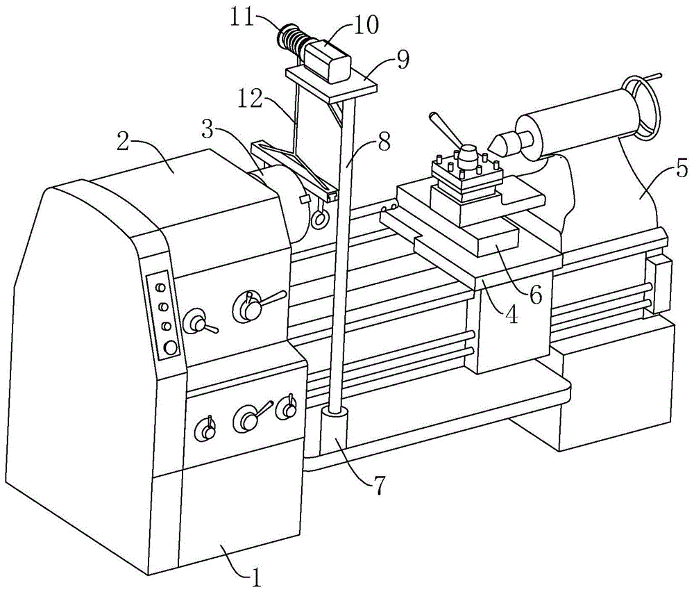
數控車床按照運動方式分為走刀機和走心機。數控車床的整體結構組成基本上與普通車床相同,即同樣擁有車身、主軸、刀架、拖板和尾座等基本部件,但是普通車床并不擁有數控操作面板、顯示監視器等數控機床特有的部件。
P.S.: 走刀機是一種高性能、高精度、低噪音的走刀式自動車床,是通過凸輪來 控制加工程序的自動加工機床;而走心機全稱為走心式數控車床,是一種精密加工設備,可以同時完成車、銑、鉆、鏜、攻、雕刻等復合加工。這兩種都是CNC數控車床。
目前市面上絕大多數的CNC數控機床總體上包含以下四個部分:機床主體、控制部分、驅動裝置以及輔助裝置。
一、機床主體
機床主體是數控車床的機械部件,主要包括床身、底座、立柱、橫梁、滑座、工作臺、主軸箱、進給機構、刀架及自動換刀裝置等。它是在數控機床上自動地完成各種切削加工的機械部分。
采用具有高剛度、高抗震性及較小熱變形的機床新結構。通常用提高結構系統的靜剛度、增加阻尼、調整結構件質量和固有頻率等方法來提高機床主機的剛度和抗震性。
提高機床主機剛度和抗震性的方法通常包含:1-通過增加阻尼;2-調整結構件質量3-調整固有頻率4-提高結構系統靜剛度;其中靜剛度(The static stiffness)是結構在特定的靜態激擾下抵抗變形的能力。
現代數控機床廣泛采用高性能的主軸伺服驅動和進給伺服驅動裝置,使傳動鏈縮短,簡化了機床機械傳動系統的結構。
二、控制部分
控制部分是數控車床的核心,一般包括專用計算機、液晶顯示器、控制面板以及強電控制系統(包含機床印制板電路、屏幕顯示器、鍵盤、紙帶TAPE、磁帶、驅動電路等)輸入到控制部分的程序指令記錄在信息載體上的由程序讀入裝置接收,或由控制部分的鍵盤直接手動輸入。
其中這里的“紙帶TAPE”是指一種存儲程序的媒介,把程序用穿孔機記錄在紙帶上,再把紙帶上記錄的程序輸入到數控機床中; 并且隨著存儲技術的發展現在已經不再使用紙帶來記錄程序了,多數情況都是用快速閃存或磁盤來記錄程序。 “磁帶”“磁盤”是“紙帶”發展演化后現代機床大多都會配備的部件。
三、驅動裝置
現階段數控機床常用的驅動裝置主要分為伺服電機驅動裝置、步進電機驅動裝置、直流電機驅動裝置、交流伺服電機驅動裝置這四種。
1. 伺服電機驅動裝置。具有結構簡單、定位精度高、大功率輸出、調速范圍廣等特點。廣泛應用于加工質量要求較高、動作較為頻繁的數控機床中,尤其是數控銑床、數控車床等;
2. 步進電機驅動裝置,具有精度高、低速驅動穩定等諸多優點。此種驅動裝置通過控制電機每次步進的距離和頻率來實現機床軸的位置和控制速度,從而精準控制機床運動狀態。步進電機驅動裝置常用在精度要求較高、轉速較低的數控機床中(比如印刷機、繞線機)
3. 直流電機驅動裝置。具有結構簡單、優良的調速性能等優點。通常通過變換直流電壓以實現電機的轉速轉矩控制。適用于轉速變化較大且精度要求高的數控機床中,比如數控鉆床、數控鏜床等。
4. 交流伺服電機驅動裝置。這是一種集伺服電機與變頻器與一體的驅動裝置,它具有結構緊湊、響應速度快、運行平穩等特點。交流伺服電機驅動裝置通過控制電源頻率和相位差來實現電機轉速和位置控制,適用于高精度、高速度運動的數控磨床、數控加工中心等。
四、輔助裝置
輔助裝置是數控車床上的一些配套部件,對刀儀(全稱是刀具預調儀,用于在機外預調中測量和/或調整各種加工中心和帶軸鏜銑刀的數控機床切削刃徑向和軸向尺寸的測量儀器)、潤滑、液壓及氣動裝置、冷卻系統和排屑裝置等;
數控機床輔助裝置是保證充分發揮數控機床功能所必須的配套裝置,常用的裝置包含啟動、液壓裝置、排泄裝置、冷卻、潤滑裝置、回轉工作臺和數控分度頭、防護、照明等各種輔助裝置。數控機床是一種裝有程序控制系統的自動化機床,能夠根據一邊好的程序,使機床動作并加工零件。
在數控機床上應用的傳感器主要有廣電編碼器、直線光柵、接近開關、溫度傳感器、霍爾傳感器、電流傳感器、電壓傳感器、壓力傳感器、液位傳感器、旋轉變壓器、感應同步器、速度傳感器等。主要用來檢測位置、直線位移和角位移、速度、壓力、溫度等。
深圳市一鑫創研技術有限公司擁有進口CNC加工中心共七十余臺,CNC數控車床5臺,磨床3臺,銑床12臺,火花機5臺,噴砂機2臺,攻牙機5臺。機器設備齊全,2個工作日即可完成高精密零部件生產加工。支持大小批量定制加工,提供專業的五金零件數控加工服務。歡迎代價來電咨詢:+86 18938911183.
- 上一篇:
提高患者安全性的醫療器械軸承
2023/10/25 - 下一篇:
數控機床加工精度受哪些因素的影響?
2023/10/9
